04/15 2025
808
Zhang Yong likely never anticipated that more than four months after officially stepping down as CEO of NEZHA Automotive, he would suddenly be thrust into the limelight.
Multiple videos circulating online show NEZHA Automotive dealers demanding compensation from the company. The dealers in these videos claim that "many stores paid millions of yuan in full as required by the manufacturer but did not receive a single vehicle." Consequently, they have traveled to NEZHA's Tongxiang factory to seek compensation, the restoration of the after-sales system, and other related demands.

Screenshot: Weibo @CheQuanDuoJiaoZhuDora
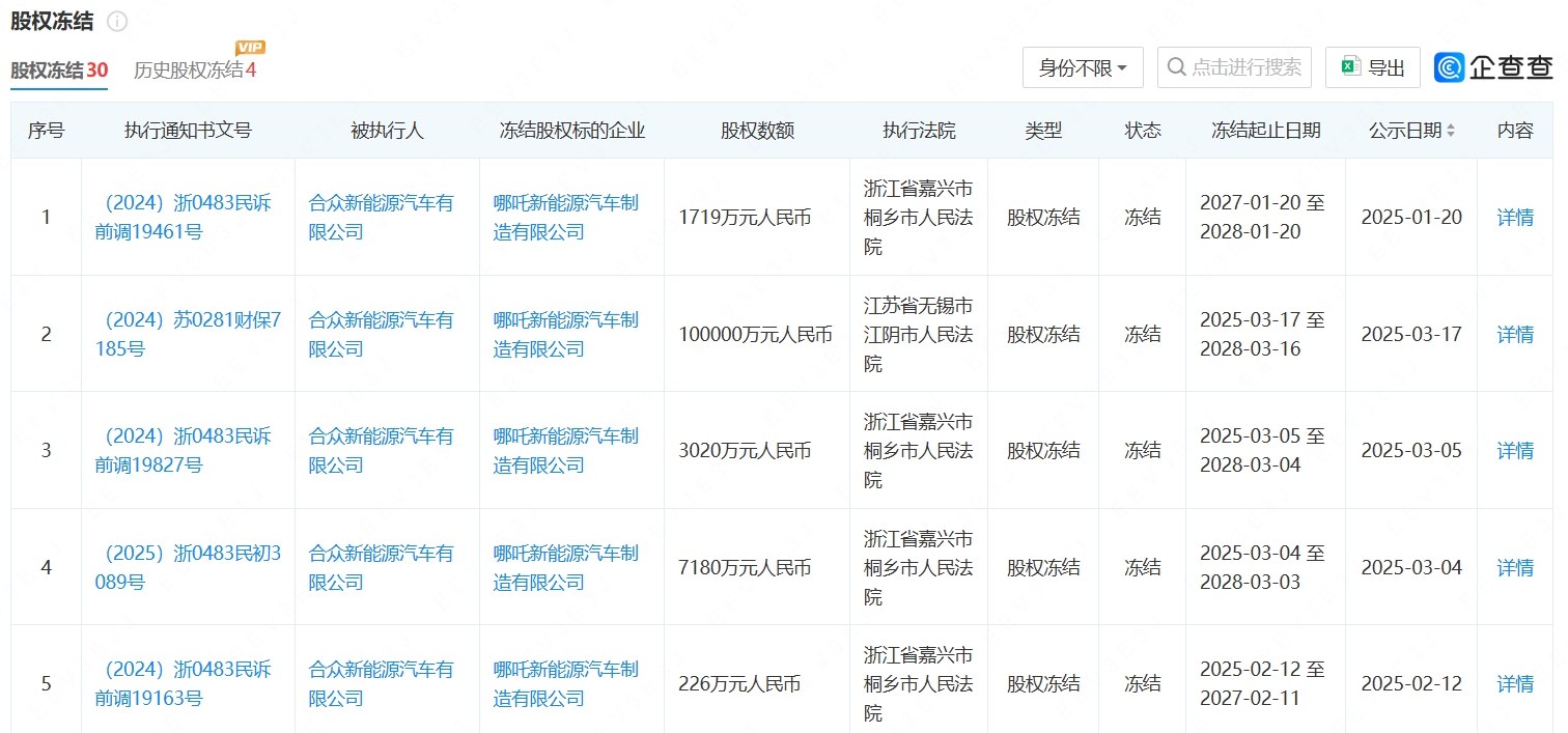
Frankly, such news is not surprising. According to queries on the Qichacha official website, NEZHA Auto New Energy Vehicle Manufacturing Co., Ltd. has a total of 30 pieces of information about equity freezes, including three pieces of information about 1 billion yuan equity freezes. After calculation, NEZHA currently has up to 3.44598 billion yuan in frozen equity, and an unstable capital chain will inevitably cast doubts among upstream and downstream enterprises.

Screenshot: Qichacha official website
The dealers have come forward to voice their demands, allowing both parties to retain some dignity. NEZHA Automotive has yet to respond to this matter, and the relevant videos have currently been taken down. Optimistically, it could be that the officials are already actively communicating with the dealers.
However, Zhang Yong, the former CEO of NEZHA Automotive who has hit the hot search list, is rumored to have obtained a UK visa before his resignation and is currently there. While netizens are still debating whether Zhang Yong will become the next Jia Yueting, the media DoNews revealed that Zhang Yong has responded through his Moments: "I am still serving as a consultant for NEZHA Automotive and am busily fundraising for the company."

Image source: DoNews
Regardless of the truth in Zhang Yong's response, DianCheTong believes that there were many coincidences behind Zhang Yong's sudden rise to the top of the hot search list, as his career trajectory does indeed resemble that of some new force founders. However, Zhang Yong resigned as CEO a long time ago, and it should be NEZHA Automotive or the positive response of current CEO Fang Yunzhou that should be hitting the hot search list.
After multiple new forces experienced explosions in recent years, the steep decline of auto companies is no longer a rare phenomenon. NEZHA Automotive, which became the sales champion of new forces in 2022, also once harbored the same dream of building cars as traditional auto companies. Although it has not been completely eliminated by the market, the dark moments over the past six months have put NEZHA Automotive in a difficult situation that is hard to reverse. Once an auto company is rumored to be in crisis and "about to fail," potential car buyers hesitate, suppliers shy away, and creditors rush to collect payments, often accelerating the auto company's path towards true failure.
The former sales champion of new forces is now completely marginalized.
In 2014, Hozon New Energy Auto was established, with founder Fang Yunzhou serving as deputy general manager of Chery New Energy. He relied on experience accumulated in traditional auto companies to overcome the financial and technical challenges that new forces needed to address in their early development.
A turning point in development occurred in 2018 when Zhang Yong, with over a decade of market experience at BAIC BJEV, took on the role of CEO of Hozon New Energy. Hozon New Energy finally obtained a new energy vehicle production qualification and launched the NEZHA Automotive brand and its first model, the NEZHA N01, in June of the same year.
To get products to market faster, Zhang Yong adopted a marketing strategy similar to that of BAIC BJEV. The early NEZHA N01 was primarily targeted at the B-end and G-end markets, relying on high cost-effectiveness and spatial advantages to attract orders from several major customers first. This strategy helped NEZHA Automotive survive the early stages of capacity ramp-up, with annual sales even reaching the level of the first tier of new forces.

Image source: DianCheTong production
Market results showed that BAIC BJEV's marketing strategy of "not focusing on the C-end" was doomed to face the problem of demand saturation. Zhang Yong was indeed very astute, launching the NEZHA U and NEZHA V for the family car market to compete with traditional fuel-powered family cars.
The strategy of transitioning to the C-end market was very successful, and the concept of "building cars for the people" began to rapidly expand in third, fourth, and fifth-tier cities. Thanks to this, NEZHA Automotive established a leading position among the second tier. Not only did it become the sales champion of new forces in 2022, but it also reached the threshold of 100,000 vehicles produced after NIO, XPeng, and Li Auto.
It was originally thought that NEZHA Automotive could rely on high cost-effectiveness to gain a foothold in the family car market, but unexpectedly, within less than a year, NEZHA Automotive found itself deeply mired in sales woes.

Image source: NEZHA Automotive official website
After reaching its sales peak in 2022, NEZHA Automotive's performance has been on a downward trend from 2023 to 2024. The NEZHA S and NEZHA GT, which attempted to open up the high-end market for the brand, did not achieve the expected results and were not the main cause of the sales decline. The root cause was the initiation of the "price war," with autonomous brands, joint venture brands, and luxury brands all launching price reductions and financial incentives.
There is nothing wrong with NEZHA Automotive's strategy of using high cost-effectiveness products to boost sales. In the early stages, it may earn a little less, but as long as sales continue to rise, turning a positive gross margin is only a matter of time. However, NEZHA Automotive lost because its competitors also began using this strategy.
NEZHA, which could have smoothly leveraged its high cost-effectiveness advantage, saw its market advantage halved.

Image source: NEZHA Automotive official website
Facing dismal sales, former CEO Zhang Yong admitted that it was caused by issues such as overly high pricing for new product launches and outdated marketing methods. However, in the view of DianCheTong, the pursuit of traffic was the final straw that crushed NEZHA Automotive.
After Lei Jun released a short video of his factory, Zhang Yong and one of the shareholders, Zhou Hongyi, also conducted a "factory tour live stream," but Zhou Hongyi directly criticized Zhang Yong in various aspects in front of the camera. Later, NEZHA Automotive also held a live stream titled "Should NEZHA change its name?", which did attract attention, but in the end, it did not seem to have a positive effect on spreading the brand or increasing sales.
On December 6, 2024, NEZHA Automotive announced that Zhang Yong would no longer serve as CEO, and Chairman Fang Yunzhou would concurrently serve as CEO. In addition, in an internal letter, Fang Yunzhou stated that "while striving to achieve an IPO, we aim to turn the overall gross margin positive by 2025 and achieve overall profitability by 2026".
Will NEZHA Automotive stop here or be reborn from the ashes? Let's wait and see.
10 billion Thai baht credit + 2 billion yuan debt-to-equity swap, still difficult to fill the hole
On March 20, NEZHA Automotive held its 2025 Dealer Conference, announcing a cooperation with NLTH (Thailand) Finance in wholesale and retail, and obtaining a credit line of 10 billion Thai baht (approximately 2.1813 billion yuan) from them.
This 10 billion Thai baht credit line seems to have given NEZHA Automotive a slight reprieve, but the fact that needs to be recognized is that this fund must be used for production in Thailand, and NEZHA Automotive needs to use the money earned in Thailand to fill the debts in the domestic market.
By reviewing the official account news of NEZHA Automotive, it is not difficult to find that starting from March, the official announcements have basically focused on the international market, especially the Thai market.

Screenshot: Official Account @NEZHA Automotive
The ability to obtain a credit line of 10 billion Thai baht indeed stems from NEZHA Automotive's forward-looking layout. As early as 2022, NEZHA Automotive launched the right-hand drive version of the NEZHA V in the Thai market, becoming the first domestic new force brand to enter the Thai market. Moreover, starting from March last year, NEZHA Automotive's Thailand Eco-Smart Factory has been in production.
According to data compiled by the Thai media auto life, NEZHA Automotive received 1,219 orders at the 46th Bangkok International Motor Show in Thailand, ranking 9th among the top 15 Chinese brands in terms of orders.
With production and sales keeping up, there is a reason why NEZHA Automotive can survive in the Thai market. However, in the view of DianCheTong, even if subsequent investments in the domestic market are abandoned, the revenue of NEZHA Automotive in Thailand may be difficult to fill the current losses.
According to the official financial report information, NEZHA Automotive incurred losses of 4.84 billion yuan, 6.666 billion yuan, and 6.867 billion yuan respectively from 2021 to 2023, with a cumulative loss of 18.374 billion yuan over the three years. The official financial report data for 2024 has not yet been released, but if the cumulative losses over these three years are averaged out over the sales data, it is equivalent to a loss of 49,700 yuan per vehicle sold.

Image source: Weibo @NEZHA Automotive
DianCheTong noticed that in order to make up for losses, NEZHA Automotive has frequently taken self-rescue actions. On January 24, Hozon New Energy held a shareholders' meeting to discuss the E-round financing plan of 4 billion to 4.5 billion yuan. However, the total debt of Hozon New Energy approached 10 billion yuan. According to the requirements of investors, Hozon New Energy must reduce its debt before considering this 4 billion yuan investment.
Due to excessive debt, NEZHA Automotive proposed on March 19 to reduce debt through "debt-to-equity swaps" in order to obtain this lifesaving investment. Until March 25, NEZHA Automotive announced that it had reached a debt-to-equity swap agreement totaling over 2 billion yuan with 134 domestic core suppliers, including CATL and Guoxuan High-Tech, which also promoted the progress of a new round of financing to a certain extent.
The "debt-to-equity swap" approach did give NEZHA a breather, but let's face it, suppliers who are in the same boat as NEZHA Automotive can only lend a helping hand, as a NEZHA collapse would mean zero gains for them, and a stalemate is definitely not a solution.
However, 10 billion Thai baht and 2 billion yuan in debt-to-equity swaps are still difficult to fill the high losses of over 10 billion yuan.
At the rate of losses over the past few years, NEZHA Automotive's losses in 2024 may further increase. More importantly, it is unlikely that NEZHA Automotive will make a sudden leap forward in the domestic market in the short term. Although it has a presence in the Thai market, its sales data are not far ahead of the competition. It remains a mystery how long these investments can give NEZHA Automotive a reprieve.
Written at the end
Building cars is like this: it requires continuous investment from auto companies and investors to have a chance to create a hit. However, a healthy auto company not only has stable and growing sales data, cash flow, and supply chain but is also recognized by a large number of users in the market. Auto companies that falter in any of these areas may find it difficult to survive in the fierce competition in the new energy vehicle market.
Nowadays, the price war in the new energy vehicle market continues, and even traditional manufacturers with years of technical accumulation are in a mess. Who will be the next new energy brand to come to the brink of market elimination?
(Cover image source: DianCheTong production)
Source: LeiKeJi