04/09 2026
476
Previously, Bloomberg reported that Apple is in the process of developing a lightweight pair of AI glasses, which are expected to make their official debut in 2027 (Big News! Apple’s AI Glasses, AI Pendant, and AirPods Are on the Horizon!). However, due to Apple’s stringent confidentiality policies, details about this product remain scarce.
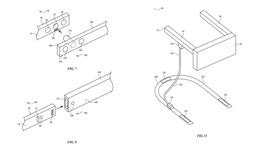
The author recently observed that on April 7, 2026, a patent titled “HEAD-MOUNTABLE DEVICE WITH CONNECTABLE ACCESSORIES” for Apple’s modular AI glasses was made public. This patent reveals that Apple’s AI glasses can be highly personalized—users can swap out temples, batteries, and even core functional modules to suit their preferences.

▲ Patent Number: US012596254B2
Based on Apple’s patent, an overseas blogger utilized AI to create the following 3D concept images.

▲ AI-Generated 3D Concept Based on Apple’s Patent
This is not the first time Apple has made a modular patent for AI glasses public. In recent years, the company has been consistently filing related patents.

▲ Patent Filed in 2024: “Modular System for Head Mounted Device,” Patent Number: US012124034B2
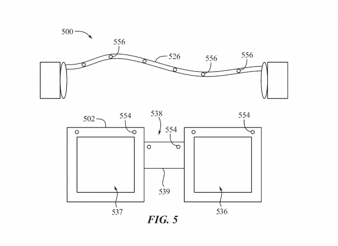
In January 2026, another patent titled “Electronic Bridge” was disclosed. According to the patent, this design allows for the replacement of glasses frames without disrupting the power or data connections between the device’s electronic components. The core of this invention is a flexible, detachable “electronic bridge” that ensures electrical continuity between the left and right fixed arms, even when the front frame is removed.

▲ Patent Number: US 20260029645A1
This approach enables the separation of electronic components such as frames and temples, accommodating various face shapes and user preferences. Frames with different shapes, sizes, and nose bridge geometries can be used without altering the electronic components. Based on Apple’s patent, an overseas blogger used AI to generate the following schematic.

▲ AI-Generated Schematic Based on the Patent
Apple boasts an extensive patent portfolio in the smart hardware sector. While not every patent is commercialized, they reflect Apple’s strategic thinking on AI glasses.
Modularity is not a novel concept in the hardware industry. Google’s Project Ara for smartphones pursued a fully modular approach, which stood in stark contrast to the trend of increasing integration in smartphones around 2016 and ultimately failed. Transsion later adopted a semi-modular approach with magnetic attachments, allowing users to enhance specific features as needed.

In the AI glasses industry, several manufacturers have explored modularity. Some AI glasses already support the replacement of temples or frames. For instance, Solos introduced smart glasses last year with interchangeable frames, offering multiple SKU options.

Products like Quark AI Glasses and INMO GO3 support battery replacement. Recently, XR Vision Studio introduced a product (Exclusive | The World’s First AI Glasses with Triple Cameras Are Coming!) that also adopts a modular temple design.

▲ Voxnoos AI Cycling Glasses
Domestic manufacturer Glimmer Tech has taken a display modularity route. As early as February 2025, their Xuanjing M6 series featured a detachable display module that combined with a base glasses frame, enabling on-demand functionality and hardware upgrades.

▲ Glimmer Tech’s Xuanjing M6
Of course, modularity in AI glasses differs fundamentally from that in smartphones. Given the limited space in the temples, cramming in too many features would compromise weight and battery life. Modularity addresses the so-called “impossible trinity” while offering multiple SKU options, which are crucial for glasses. Smartphone modularity, on the other hand, emerged from a development plateau.
Apple’s latest patent clearly indicates that the company aims to create wearable devices with universal interfaces. The core frame would remain lightweight, handling basic display and computing, while temples and frames would feature reserved interfaces. Users could attach peripherals based on their needs—adding a camera module for photography or sports monitoring accessories for fitness.
In essence, this approach prevents users from carrying a bulky “all-in-one” glasses setup daily for just 10% of their usage scenarios while meeting diverse needs.
Apple’s modularity likely involves deep protocol-level interactions rather than simple physical connections. When a camera module is attached, the system UI automatically displays camera controls, and the processor allocates computing power for visual algorithms. If running large language models locally is too power-intensive or slow, users can attach a dedicated lightweight NPU for plug-and-play performance, switching between “basic assistant” and “superbrain” modes.
Currently, Apple’s product remains in the patent phase, and it is unclear whether it will be applied to the first lightweight AI glasses launching in 2027. Meanwhile, Glimmer Tech’s Xuanjing AI glasses have already brought similar modular designs to market, providing a real-world example of “concept realization.” While ecosystem maturity and accessory variety require time to verify, this demonstrates that modular AI glasses are not confined to patent drawings.
Just as smartphones defined functionality through apps, future smart glasses may define their identity through modules. Apple’s patent redefines the starting point for smart glasses: instead of trying to cover all needs with one device, glasses should return to being a “framework” that empowers users with choices.
Extending the “decentralized” philosophy from system design to hardware form, AI glasses would no longer be static consumer electronics but personalized platforms that evolve with user needs. On this journey to the future, Apple’s patents and Glimmer’s market offerings have already bridged the gap.